DỤNG CỤ THÍ NGHIỆM BẰNG THỦY TINH – BÌNH TỶ TRỌNG- TIÊU CHUẨN QUỐC GIA TCVN 9559:2013 (ISO 3507:1999)
DỤNG CỤ THÍ NGHIỆM BẰNG THỦY TINH – BÌNH TỶ TRỌNG
Laboratory glassware – Pyknometers
Lời nói đầu
TCVN 9559:2013 hoàn toàn tương đương với ISO 3507:1999.
TCVN 9559:2013 do Ban kỹ thuật tiêu chuẩn quốc gia TCVN/TC 48 Dụng cụ thí nghiệm bằng thủy tinh biên soạn, Tổng cục Tiêu chuẩn Đo lường Chất lượng đề nghị, Bộ Khoa học và Công nghệ công bố.
DỤNG CỤ THÍ NGHIỆM BẰNG THỦY TINH – BÌNH TỶ TRỌNG
Laboratory glassware – Pyknometers
Tiêu chuẩn này qui định các yêu cầu đối với dãy bình tỷ trọng sử dụng trong phòng thí nghiệm để xác định khối lượng riêng của chất lỏng.
Tiêu chuẩn này không áp dụng cho các loại bình tỷ trọng chuyên dùng cho các sản phẩm đặc biệt, hoặc không được sử dụng phổ biến. Các chi tiết cụ thể xác định loại bình tỷ trọng này đã có trong các tiêu chuẩn qui định hoặc mô tả cách sử dụng chúng.
Phụ lục A mô tả một thiết bị thích hợp dùng để điều chỉnh mức chất lỏng ở cổ của bình tỷ trọng Reischauer.
Các tài liệu viện dẫn sau rất cần thiết cho việc áp dụng tiêu chuẩn này. Đối với các tài liệu viện dẫn ghi năm công bố thì áp dụng phiên bản được nêu. Đối với các tài liệu viện dẫn không ghi năm công bố thì áp dụng phiên bản mới nhất, bao gồm cả các sửa đổi, bổ sung (nếu có).
TCVN 1046 (ISO 719), Thủy tinh – Độ bền nước của hạt thủy tinh ở 98 oC – Phương pháp thử và phân loại.
TCVN 8829 (ISO 383), Dụng cụ thí nghiệm bằng thủy tinh – Khớp nối nhám hình côn có thể lắp lẫn.
ISO 384:1978, Laboratory glassware – Principles design, construction and use (Dụng cụ thí nghiệm bằng thủy tinh – Nguyên tắc thiết kế và kết cấu của dụng cụ thủy tinh đo dung tích).
ISO 386, Liquid-in-glass laboratory thermometers – Principles of design, construction and use (Nhiệt kế thủy tinh chất lỏng trong phòng thí nghiệm – Nguyên tắc thiết kế, kết cấu và sử dụng).
ISO 3585, Borosilicate glass 3.3 – Properties (Thủy tinh borosilicat 3.3 – Các tính chất).
3.1. Đơn vị thể tích
Đơn vị thể tích là mililít (ml), tương đương với centimét khối (cm3).
CHÚ THÍCH: Thuật ngữ mililít (ml) thường được dùng như một tên gọi đặc biệt của centimét khối (cm3), theo quyết định của Hội nghị cân đo quốc tế lần thứ 12. Nói chung, thuật ngữ mililít được chấp nhận để tham chiếu trong các tiêu chuẩn quốc tế về dung tích của dụng cụ đo thể tích và được sử dụng trong tiêu chuẩn này.
3.2. Nhiệt độ chuẩn
Nếu dung tích thực được ghi khắc trên bình tỷ trọng, thì nhiệt độ mà tại đó dung tích thực này được xác định cũng phải được ghi khắc trên bình tỷ trọng. Trong điều kiện bình thường nhiệt độ chuẩn là 20 oC.
Ở những nước nhiệt đới có nhiệt độ làm việc thường trên 20 oC, thì có thể sử dụng nhiệt độ chuẩn là 27 oC.
Có hai kiểu bình tỷ trọng dạng ống và bốn kiểu bình tỷ trọng dạng bầu được qui định như được liệt kê trong Bảng 1 và được minh họa trong các hình từ Hình 1 đến Hình 6. Các Kiểu 1 và 2, dạng ống, để treo; Kiểu 3, 4, 5 và 6, dạng bầu, để đứng tự do trên đáy phẳng.
Các Kiểu 1, 3 và 4, và kiểu 2 nếu có nắp đậy, được sử dụng cho các chất lỏng bay hơi. Kiểu 5 được sử dụng cho các vật liệu có độ nhớt cao.
Dãy kích cỡ cho mỗi kiểu bình tỷ trọng được qui định trong Bảng 1.
Bảng 1 – Kiểu và kích cỡ của bình tỷ trọng
|
Kiểu |
Ký hiệu |
Dung tích danh định ml |
|
1 2 3 4 5 6 |
Lipkin Sprengel Gay-Lussac Reischauer Hubbard Có nhiệt kế trong nút mài |
1 2 5 10 5 10 25 1 2 5 10 25 50 100 10 25 50 100 25 50 10 25 50 100 |
5.1. Dung tích thực
Dung tích thực là thể tích tính bằng mililít của nước ở nhiệt độ chuẩn được chứa trong bình tỷ trọng cũng ở cùng nhiệt độ. Tùy theo mỗi kiểu bình tỷ trọng, thể tích được xác định như sau.
- Kiểu 1: Giữa các vạch “0” của hai thang đo;
- Kiểu 2: Từ đầu vòi xả đến vạch chia độ;
- Kiểu 3 và 5: Đến đỉnh lỗ của nút đậy;
- Kiểu 4: Đến vạch “0” của thang đo;
- Kiểu 6: Đến đỉnh ống mao quản bên cạnh.
Nhiệt độ chuẩn được khuyến nghị là 20 oC, nhưng có thể chọn nhiệt độ thích hợp khác theo 3.2.
5.2. Dung tích danh định
Dung tích danh định là dung tích thực được làm tròn đến giá trị thích hợp gần nhất được qui định trong Bảng 1.
6. Chênh lệch giữa dung tích thực, dung tích danh định và độ chính xác
Chênh lệch giữa dung tích thực và dung tích danh định của bình tỷ trọng phải không lớn hơn giá trị tối đa được qui định trong Bảng 2, 3 hoặc 4.
Dung tích thực của bình tỷ trọng phải được xác định ở mức tin cậy 95% (k = 2) với độ không đảm bảo đo không lớn hơn các giá trị sau:
|
Kiểu 1 |
Lipkin |
± 5 μl |
|
Kiểu 2 |
Sprengel |
± 5 μl |
|
Kiểu 3 |
Gay-Lussac |
± 10 μl |
|
Kiểu 4 |
Reischauer |
± 5 μl |
|
Kiểu 5 |
Hubbard |
± 50 μl |
|
Kiểu 6 |
Có nhiệt kế trong nút mài |
± 15 μl |
Bình tỷ trọng phải được làm từ thủy tinh có cấp độ bền nước không thấp hơn HGB3 theo TCVN 1046 (ISO 719), với hệ số giãn nở nhiệt không lớn hơn 3,3 x 10-6 oC-1.
CHÚ THÍCH: Vật liệu bao gồm cả thủy tinh borosilicat 3.3 theo ISO 3585.
Bình tỷ trọng phải không có khuyết tật nhìn thấy và không có ứng suất nội. Nắp đậy hoặc nút phải được làm từ thủy tinh có cùng tính chất nhiệt với thủy tinh làm bình tỷ trọng để lắp với chúng.
Khối lượng của bình tỷ trọng không được lớn hơn giá trị tối đa tương ứng được qui định trong Bảng 2, Bảng 3 và Bảng 4.
Bình tỷ trọng phải phù hợp với các yêu cầu về kích thước có dung sai tương ứng được qui định trong Bảng 2, 3 và 4. Các kích thước bổ sung được qui định bởi các giá trị danh định không có dung sai theo hướng dẫn của nhà sản xuất.
7.4.1. Hình dạng của sáu kiểu bình tỷ trọng phải được qui định chung như trong các hình từ Hình 1 đến Hình 6 và phải phù hợp với các yêu cầu chi tiết được qui định trong 7.4.2 đến 7.4.8.
Tất cả các phần được làm côn của bình tỷ trọng phải được làm nhẵn để không có các gờ nhọn có thể tạo bọt khí.
7.4.2. Bình tỷ trọng Kiểu 1 phải có một bầu hình oval, như được minh họa trong Hình 1, được thu dần vào ống ở mỗi đầu.
Nhánh bên trái của bình tỷ trọng phải được uốn cong như mô tả trong Hình 1, khoảng cách từ điểm bắt đầu cong đến điểm kết thúc của đoạn cong là (20 ± 2) mm và tạo thành góc từ 50o đến 55o.
Hai đầu của bình tỷ trọng phải vuông góc với trục của ống và được làm nhẵn bằng lửa mà không có chỗ bị thắt.
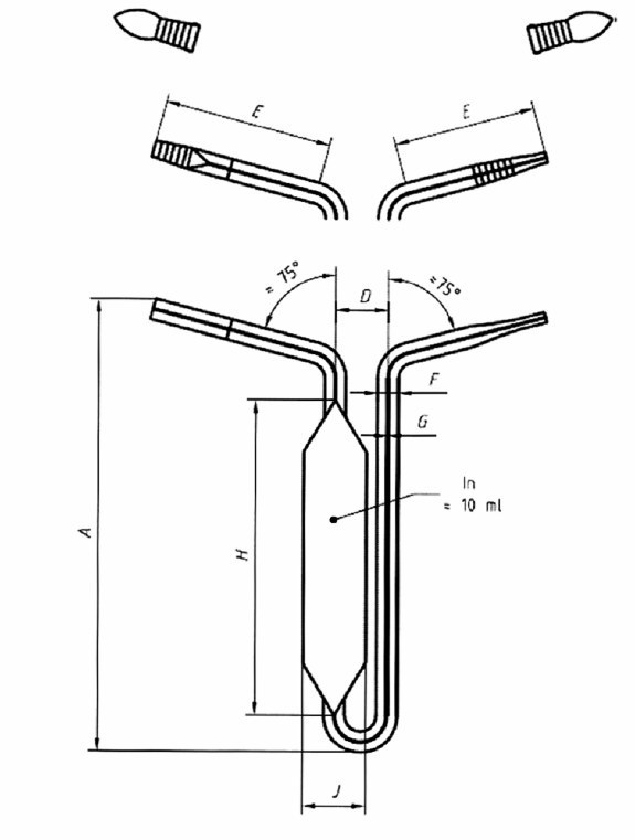
7.4.3. Bình tỷ trọng Kiểu 2 phải có một bầu hình trụ với hai đầu côn dần và nối với các ống liền kề.
Hai nhánh phải được uốn cong một góc khoảng 75o so với mặt phẳng thẳng đứng và phải nằm trong cùng mặt phẳng với phần chữ U của bình tỷ trọng. Một nhánh phải được thu nhỏ dần tạo thành một vòi nhẵn hình côn. Đầu cuối của ống phải có một lỗ khoảng 0,5 mm và được mài nhẵn vuông góc với trục của ống và được vát nhẹ bên ngoài.
Đầu cuối của nhánh còn lại của bình tỷ trọng phải vuông góc với trục của ống và được mài nhẵn bằng lửa mà không bị thắt lại.
7.4.4. Bình tỷ trọng Loại 2 có nắp nhám được lắp ở hai đầu của hai nhánh biên, phải phù hợp với các yêu cầu bổ sung sau:
a) Phần nhám của khớp nối phải sao cho hai nắp lắp lẫn được, và khớp nối phù hợp với các yêu cầu đối với kích cỡ 5/9 của TCVN 8829 (ISO 383).
b) Các phần côn của khớp nối phải được chế tạo sao cho sự biến dạng của lỗ ống là nhỏ nhất và côn đều. Đầu của vòi phải nhô ra ngoài đầu nhỏ của phần nhám và
c) Nắp phải được mài nhẵn để lắp vừa với đầu côn và phải có kích cỡ đủ để phủ kín toàn bộ đầu vòi.
7.4.5. Bình tỷ trọng Kiểu 3, 4, 5 và 6 phải đứng thẳng, mà không bị lắc hoặc xoay khi được đặt trên một mặt phẳng ngang. Bình tỷ trọng khi rỗng, có đậy nắp không được đổ khi được đặt trên một bề mặt nghiêng một góc 150 so với phương nằm ngang.
7.4.6. Thân bình tỷ trọng Kiểu 3, 4 và 6 phải có dạng như minh họa trong Hình 3, 4 và 6, trong đó mặt phẳng có đường kính tối đa ở vị trí khoảng một phần ba khoảng cách từ đế đến đáy cổ.
7.4.7. Thân bình tỷ trọng Kiểu 5 phải có dạng như minh họa trong Hình 5, trong đó đầu trên của phần côn nối đều với cổ mà không có gờ nhô ra. Bán kính cong giữa đầu dưới của phần côn và đế không được nhỏ hơn 5 mm.
7.4.8. Bình tỷ trọng Kiểu 6 phải có một ống mao dẫn bên cạnh được nối đều với thân ở một góc khoảng 90o. Phần trên của ống mao dẫn bên cạnh phải ở vị trí song song với trục thẳng đứng của thân bình tỷ trọng. Đường kính ngoài của ống mao dẫn bên cạnh phải xấp xỉ 6 mm và đầu tiên phải được mài tạo thành một mặt phẳng.
7.5.1. Đối với Kiểu 3 và Kiểu 5, đỉnh của cổ bình phải được gia công sao cho không có rãnh để chất lỏng có thể đọng giữa nút đậy và cổ chai. Mép ngoài của đỉnh cổ phải được vát nhẹ.
Phần nhám của cổ phải mở rộng đến dưới đáy nút đậy khi nút ở vị trí đậy và phải không có gờ ở đầu dưới của phần mài.
CHÚ THÍCH: Điều này có thể được thực hiện trong quá trình gia công hoặc trong khi mài.
7.5.2. Đối với Kiểu 4, phần cổ có thang chia độ phải có dạng hình trụ và đường kính trong phải đều trên toàn bộ chiều dài của thang đo. Đường kính trong của cổ phía trên phần này phải không bị thắt. Đầu trên của cổ phải được mài nhám hoặc dưới dạng một lỗ có gân gia cường như minh họa trong Hình 4, hoặc dưới dạng hình côn. Cả hai trường hợp này, việc mài nhám phải phù hợp với các yêu cầu của TCVN 8829 (ISO 383), đối với kích cỡ khớp nối được liệt kê trong Bảng 3.
7.5.3. Đối với Kiểu 6, cổ được dùng để lắp nhiệt kế phải được mài thành một lỗ phù hợp với TCVN 8829 (ISO 383), kích cỡ 10/19. Giữa lỗ nhám và nhiệt kế được lắp vào đó không được có rãnh để tránh việc chất lỏng có thể đọng lại ở đó.
Đầu trên của ống mao dẫn bên cạnh phải được mài nhám dạng hình côn theo TCVN 8829 (ISO 383), kích cỡ 7/16, để có thể đậy nắp chụp vào.
7.6.1. Nút đậy của bình tỷ trọng dạng bầu phải được mài nhám để lắp vừa khít với cổ của bình kín với chất lỏng và phải phù hợp với các yêu cầu được qui định trong 7.6.2 đến 7.6.6.
7.6.2. Đối với Kiểu 3, phần nhám của nút đậy phải mở rộng trên cổ bình khi nút đậy được đặt ở vị trí trong bình và phần này cũng phải được mài nhám tốt.
Đầu nút đậy phải được mài vuông góc với trục và được làm nhẵn, và mép ngoài phải được vát nhẹ.
Đáy nút đậy phải được mài vuông góc với trục và mép ngoài phải được vát nhẹ.
Mép của lỗ xuyên qua nút đậy cắt đỉnh và đáy nút phải đều và không bị sứt mẻ hoặc lõm vào.
Phần trên của nút đậy phải có hai mặt nghiêng được đánh bóng ở hai phía đối diện. Các mặt nghiêng này phải không lấn vào phần nhám của nút đậy.
7.6.3. Đối với Kiểu 4, nút đậy hoặc nắp phải được mài trơn nhẵn để lắp khít trong hoặc trên cổ bình, phù hợp với các yêu cầu về tính lắp lẫn, được qui định trong 7.5.2.
7.6.4. Đối với Kiểu 5, nút đậy phải phù hợp với các yêu cầu ở đoạn thứ nhất, thứ ba và thứ tư của 7.6.2. Mặt dưới của nút đậy được mài đều để tạo phần lõm dạng chỏm cầu với các mép trơn nhẵn không bị sứt mẻ.
7.6.5. Đối với Kiểu 6 và nếu thích hợp, đối với Kiểu 2, nắp đậy cho ống bên cạnh phải có lỗ nhám phù hợp với TCVN 8829 (ISO 383), cỡ khớp nối 7/16.
7.6.6. Bình tỷ trọng Loại 6 phải có một nhiệt kế thang đo kín phù hợp với các yêu cầu của ISO 386 và có độ côn nhám phù hợp với kích cỡ 10/19 của TCVN 8829 (ISO 383). Phạm vi đo nhiệt độ phải nằm trong khoảng 10 oC đến 35 oC, với khoảng chia độ là 0,2 oC và sai số tối đa cho phép không vượt quá 0,2 oC. Chất lỏng đo nhiệt độ phải là thủy ngân. Chiều dài nhiệt kế được qui định trong Bảng 4.
Trường hợp không được phép sử dụng nhiệt kế thủy ngân, nhiệt kế loại khác được lựa chọn phải ít nhất có cùng độ chính xác.
8.1. Qui định chung
8.1.1 Vạch chia độ phải được khắc rõ ràng, bền, có độ dày đồng đều không quá 0,3 mm.
8.1.2. Tất cả các vạch chia độ phải nằm trong các mặt phẳng vuông góc với trục của ống được khắc độ.
8.1.3. Việc điều chỉnh và đọc mặt cong của chất lỏng phải được thực hiện theo Điều 5, ISO 384:1978.
8.2. Kiểu 1
8.2.1. Vị trí thang đo
Mỗi nhánh thẳng đứng của bình tỷ trọng phải có thang chia độ với chiều dài 8 cm, được chia thành milimét. Hai thang đo phải là đồng mức khi bình tỷ trọng được đặt ở vị trí thẳng đứng. Các kích thước giới hạn vị trí của thang đo được qui định trong Bảng 2.
8.2.2. Chiều dài của vạch chia độ
8.2.2.1. Vạch dài biểu thị mỗi centimét phải bao tròn hoàn toàn chu vi ống hoặc gián đoạn không quá 10% chu vi ống.
8.2.2.2. Chiều dài các vạch trung bình nằm giữa các vạch dài phải đạt ít nhất một phần tư chu vi ống.
8.2.2.3. Phải có bốn vạch ngắn nằm giữa các vạch dài và vạch trung bình liên tiếp, mỗi vạch có chiều dài ít nhất một phần tám chu vi ống.
8.2.2.4. Vạch ngắn và vạch trung bình phải nằm ở giữa mặt nước của hai ống khi quan sát bình tỷ trọng tại vị trí thẳng đứng với nhánh cong ở bên trái.
8.2.3. Đánh số vạch chia độ
Hai thang chia độ phải được đánh số bằng các số biểu thị centimét từ số 0 tại vạch dài thấp nhất đến số 8 tại đỉnh.
Các số phải được ghi khắc ngay trên vạch dài mà nó biểu thị, và hơi dịch sang bên cạnh các vạch ngắn, như mô tả trong Hình 1.
8.3. Kiểu 2
Bình tỷ trọng phải có một vạch chia độ bao quanh toàn bộ nhánh không có vòi. Vạch này phải được đặt ở vị trí tối thiểu là 5 mm từ điểm mà ống bắt đầu cong và không nhỏ hơn 20 mm từ đầu hở của ống.
8.4. Kiểu 4
8.4.1. Cổ của bình tỷ trọng phải có một vạch dấu tròn có độ dày không quá 0,3 mm. Ngoài ra, cổ của bình tỷ trọng phải có một thang chia độ có chiều dài 2 cm được chia thành milimét. Tối thiểu phải có 5 mm ống có đường kính đồng đều trên và dưới vạch dấu tròn hoặc thang chia độ trước khi ống bắt đầu mở rộng.
8.4.2. Chiều dài và thứ tự của các vạch chia độ phải phù hợp với các yêu cầu của 8.2.2.1 đến 8.2.2.3. Vị trí các vạch chia độ phải như mô tả trong Hình 4.
8.4.3. Vạch dài của thang chia phải được đánh số bằng các số biểu thị milimét, với số 0 ở dưới cùng, số 10 ở giữa và số 20 ở trên cùng.
Những nội dung sau đây phải được ghi nhãn bền trên tất cả các bình tỷ trọng.
CHÚ THÍCH: Việc ghi nhãn bền có thể được đánh giá bằng các phương pháp thử được qui định trong ISO 47941.
a) Ký hiệu “
b) Ký hiệu “ml” hoặc ký hiệu “cm3” để biểu thị đơn vị thể tích.
c) Cách ghi nhãn khác với a) và b) hoặc bổ sung thêm, một số biểu thị dung tích được xác định chính xác đến 0,001 ml kèm theo nhiệt độ mà tại đó dung tích được xác định.
VÍ DỤ: 49,813 ml ở 20 oC (xem 3.2).
d) Chữ viết tắt “ln” và “20 oC” để chỉ bình tỷ trọng được dùng để chứa dung tích danh định của nó ở 20 oC.
e) Tên hoặc nhãn hiệu của nhà sản xuất hoặc nhà cung cấp.
f) Đối với Kiểu 3, Kiểu 5 và Kiểu 6, số nhận dạng phải được lặp lại trên nút đậy hoặc nhiệt kế. Số nhận dạng cũng có thể được ghi khắc trên bình tỷ trọng loại khác và trên nắp hoặc nút đậy của chúng.
g) Đối với Kiểu 3, Kiểu 5 và Kiểu 6, cổ và nút đậy hoặc nhiệt kế phải được khắc một vạch ngắn thẳng đứng hoặc một dấu hiệu để có thể biểu thị vị trí duy nhất của nút đậy hoặc nhiệt kế trên cổ chai.
10. Độ nét của vạch chia độ, số và nhãn hiệu
10.1. Tất cả các số và các ký hiệu ghi khắc phải có kích cỡ và hình dạng sao cho có thể nhìn thấy rõ trong điều kiện sử dụng bình thường.
10.2. Tất cả các vạch chia độ, số và nét ghi khắc đều phải nhìn thấy được rõ ràng và bền trong điều kiện sử dụng bình thường. Bất kỳ việc ghi khắc bổ sung nào để làm tăng khả năng nhìn rõ hơn phải đủ bền tránh thay đổi về khối lượng trong suốt quá trình sử dụng.
Bảng 2 – Các yêu cầu về kích thước đối với bình tỷ trọng ống Kiểu 1 và 2 (xem 7.3)
|
Đặc tính |
Kiểu 1 (Lipkin) (xem Hình 1) |
Kiểu 2 (Sprengel) (xem Hình 2) |
|||||
|
Dung tích danh định, ml |
1 |
2 |
5 |
10 |
5 |
10 |
25 |
|
Chênh lệch giữa dung tích thực và dung tích danh định, tối đa, ml |
± 0,2 |
± 0,3 |
± 0,5 |
± 1 |
± 0,5 |
± 1 |
± 2 |
|
Khối lượng tối đa (bao gồm cả nắp đối với Loại 2, nếu có nắp), g |
30 |
25 |
30 |
40 |
|||
|
Chiều cao toàn phần, A, mm |
175 ± 5 |
90 |
105 |
120 |
|||
|
Chiều cao phía trên thang đo, B, tối thiểu, mm |
40 |
- |
- |
- |
|||
|
Chiều cao từ bầu đến thang đo, C, tối thiểu, mm |
5 |
- |
- |
- |
|||
|
Khoảng cách giữa hai đường tâm của hai nhánh thẳng đứng, D, mm |
28 ± 2 |
10 |
13 |
16 |
|||
|
Chiều dài nhánh biên, E, mm |
- |
40 |
45 |
50 |
|||
|
Đường kính ngoài của ống, F, mm |
6 |
6 |
|||||
|
Đường kính trong của ống, G, mm |
1 ± 0,1 |
1,5 |
|||||
|
Chiều dài từ đáy bầu đến vạch chia độ “0”, H, mm |
40 |
- |
- |
- |
|||
|
Chiều dài bầu, H, mm |
- |
60 |
75 |
90 |
|||
|
Đường kính ngoài của bầu, J, mm |
11 |
14 |
20 |
25 |
12 |
17 |
22 |
Bảng 3 – Các yêu cầu về kích thước đối với bình tỷ trọng bầu Kiểu 4 và 5 (xem 7.3)
|
Đặc tính |
Kiểu 4 (Reischauer) (xem Hình 4) |
Kiểu 5 (Hubbard) (xem Hình 5) |
||||
|
Dung tích danh định, ml |
10 |
25 |
50 |
100 |
25 |
50 |
|
Chênh lệch giữa dung tích thực và dung tích danh định, tối đa, ml |
± 1 |
± 2 |
± 3 |
± 3 |
± 2 |
± 3 |
|
Khối lượng tối đa bao gồm nút đậy, g |
20 |
25 |
30 |
50 |
40 |
60 |
|
Chiều cao đến đỉnh cổ, Aa), mm |
110 |
120 |
135 |
150 |
45 |
63 |
|
Đường kính thân, Ba), mm |
33 |
40 |
50 |
60 |
40 |
45 |
|
Đường kính đáy, Ca), mm |
23 |
27 |
35 |
40 |
28 |
29 |
|
Chiều cao nút đậy, Ea), mm |
- |
26 |
||||
|
Đường kính ngoài của cổ, F, mm |
8 |
- |
- |
|||
|
Lỗ của nút đậy, G, mm |
- |
2 |
||||
|
Đường kính trong của cổ, G, mm |
2,2 đến 3,1 |
- |
- |
|||
|
Chiều sâu của mặt lõm trong nút đậy, K, mm |
- |
2,3 |
||||
|
Mài lỗ cổb) |
7/11 hoặc 7/16 |
24/10 hoặc 24/12 |
||||
|
a) Các kích thước này phù hợp với hình dạng được ưu tiên của các bình tỷ trọng được minh họa trong Hình 3 đến Hình 5 nhưng sẽ thay đổi nếu sử dụng các mẫu khác. b) Phù hợp với TCVN 8829 (ISO 383) |
||||||
Bảng 4 – Các yêu cầu về kích thước đối với bình tỷ trọng bầu Kiểu 3 và 6 (xem 7.3)
|
Đặc tính |
Kiểu 3 (Gay – Lussac) (xem Hình 3) |
Kiểu 6 (Nhiệt kế trong nút mài) (xem Hình 6) |
||||||||||
|
Dung tích danh định, ml |
1 |
2 |
5 |
10 |
25 |
50 |
100 |
10 |
25 |
50 |
100 |
|
|
Chênh lệch giữa dung tích thực và dung tích danh định, tối đa, ml |
± 0,1 |
± 0,3 |
± 0,5 |
± 1 |
± 2 |
± 3 |
± 3 |
± 1 |
± 2 |
± 3 |
± 3 |
|
|
Khối lượng tối đa bao gồm nút đậy, g |
10 |
15 |
20 |
25 |
30 |
35 |
55 |
25 |
30 |
45 |
60 |
|
|
Chiều cao đến đỉnh cổ, Aa), mm |
30 |
35 |
45 |
50 |
60 |
75 |
90 |
52 |
60 |
72 |
90 |
|
|
Đường kính thân, Ba), mm |
15 |
18 |
22 |
27 |
37 |
47 |
57 |
27 |
37 |
47 |
57 |
|
|
Đường kính đáy, Ca), mm |
15 |
16 |
18 |
22 |
30 |
36 |
42 |
22 |
30 |
36 |
42 |
|
|
Chiều cao nút đậy, Ea), mm |
- |
6 |
||||||||||
|
Đường kính ngoài của cổ, Fa), mm |
45 |
- |
||||||||||
|
Lỗ của nút đậy, G, mm |
1 ± 0,3 |
- |
||||||||||
|
Đường kính trong của cổ (ống cạnh), Ga), mm |
- |
1,5 |
1,7 |
|||||||||
|
Đường kính đầu trên của cổ mài, mm |
7,5 ± 1 |
10 ± 1 |
- |
|||||||||
|
Chiều dài nhỏ nhất của đoạn nối nút đậy trong cổ, b), mm |
11 |
13 |
7/16 |
|||||||||
|
Độ mài lỗ cổ c) (đối với nhiệt kế) |
- |
10/9 |
||||||||||
|
Độ mài côn cổ c) (ống cạnh) |
- |
7/16 |
||||||||||
|
Chiều dài toàn phần của nhiệt kế, mm |
- |
135 |
145 |
155 |
170 |
|||||||
|
a) Các kích thước này phù hợp với hình dạng được ưu tiên của các bình tỷ trọng được minh họa trong Hình 3 đến Hình 5 nhưng sẽ thay đổi nếu sử dụng các mẫu khác. b) Tính lắp lẫn của phần mài không thích hợp đối với cổ và nút đậy Kiểu 3. c) Phù hợp với TCVN 8829 (ISO 383) |
||||||||||||
Kích thước tính bằng milimét
CHÚ DẪN: Xem Bảng 2 đối với việc định nghĩa các ký hiệu.
Hình 1 - Bình tỷ trọng ống Kiểu 1 (Lipkin)
CHÚ DẪN: Xem Bảng 2 đối với việc định nghĩa các ký hiệu.
Hình 2 – Bình tỷ trọng ống Kiểu 2 (Sprengel)
Phụ lục A
(tham khảo)
Thiết bị điều chỉnh mức chất lỏng trong bình tỷ trọng Kiểu Reichauer
Xem Hình A.1 và Hình A.2
Hình A.1 – Đầu xả chất lỏng
Kích thước tính bằng milimét
Hình A.2 – Đầu nạp
CHÚ DẪN
1 Ống trung tâm bên trong phù hợp với xy-lanh được sử dụng.
2 Ø ngoài 1,0, ống bên trong bằng thép không gỉ.
1 ISO 4794, Laboratory glassware – Methods for assessing the chemical resistance of enamels used for colour coding and colour marking (Dụng cụ thí nghiệm thủy tinh – Phương pháp đánh giá độ bền hóa học của lớp men sử dụng để ghi mã mầu và ghi nhãn mầu).






